JTY-HM-GST102線型光束感煙火災探測器
JTY-HF-GST102型線型光束感煙火災探測器
JTY-HF-GST102型線型光束感煙火災探測器為非編碼型反射式線型紅外光束感煙火災探測器。探測器必須與反射器配套使用,但需要根據二者間安裝距離的不同決定使用一塊或四塊反射器。探測器主要具有以下特點:
(1)將發射部分、接收部分合二為一,安裝簡單、方便,光路準直性好;
(2)具有自動校準功能,確保可以由單人在短時間內完成調試,操作簡單、方便;
(3)具有自診斷功能,可以監測探測器的內部故障;
(4)具有自動補償功能,對于一定程度上的灰塵污染、位置偏移及發射管的老化等致使接收信號減小的因素可自動進行補償;
(5)可現場設置三個級別的靈敏度,適用于不同揚塵程度的場所;
(6)具有火警、故障無源輸出觸點;
(7)探測光路設計巧妙,抗干擾性能強;
(8)密封設計,具有防水性能;
(9)專利產品,專利號為ZL03358053.7。
主要技術指標如下:
(1)電源電壓:DC15V~DC28V
(2)電源電流:
調試電流≤20mA
監視電流≤12mA
報警電流≤22mA
(3)靈敏度等級
一級:1.3±0.3dB
二級: 1.7±0.3dB
三級: 2.3±0.3dB
(4)指示燈:
調試狀態:綠色和黃色指示燈以特定的方式點亮或閃亮
正常監視狀態:紅色指示燈周期性閃爍
火警狀態:紅色指示燈常亮,黃色指示燈熄滅
故障狀態:黃色指示燈常亮
光路被全部遮擋:探測器先報故障并點亮黃色指示燈,20s后探測器再報火警,并點亮紅色指示燈,熄滅黃色指示燈
(5)保護面積:
探測器最大保護面積為14×100=1400m2,最大寬度為14m
(6)使用環境:
溫度:-10°C~+50°C
相對濕度≤95%,不結露
(7)外形尺寸:
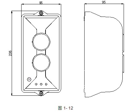
長度:206mm 寬度:95mm 厚度:95mm
JTY-HF-GST102型線型光束感煙火災探測器符合國家標準GB 14003-2005《線型光束感煙火災探測器》。
此產品已獲得:國家消防電子產品質量監督檢驗中心簽發的型式檢驗報告。




三、JTY-HM-GST102線型光束探測器結構特征、安裝與布線
本探測器外形示意圖如圖1-12:
將探測器與反射器相對安裝在保護空間的兩端且在同一水平直線上,探測器外形安裝示意圖如圖1-13:
探測器采用明裝安裝,安裝方式有兩種:穿線管預埋和穿線管明裝。當穿線管預埋時,可將探測器底殼安裝在86H50型預埋盒的上方;當穿線管明裝時,采用支架安裝方式,底殼安裝孔距及支架安裝孔尺寸如圖1-14所示。
當探測器與反射器間的安裝距離大于等于8m(小于等于40m)時,需安裝1塊反射器;
當探測器與反射器間的安裝距離大于40m(小于等于100m)時,需安裝4塊反射器。單塊反射器安裝需用兩只6塑料脹釘將其固定,安裝尺寸如圖1-15所示,四塊反射器安裝時應擺放緊密,反射器之間不應留空隙,安裝示意圖如圖1-16所示(圖未按比例)。

探測器需要與直流24V電源線(無極性)及火災報警控制器信號總線(無極性)連接,直流24V電源線接探測器的接線端子D1、D2端子上,總線接探測器的接線端子Z1、Z2上,反射器不需接線。接線端子示意圖如圖1-17。

布線要求:信號總線Z1、Z2采用阻燃RVS型雙絞線,截面積≥1.0mm2;電源線D1、D2采用阻燃BV線,截面積≥1.5mm2。
智淼君安(江蘇)消防工程技術有限公司http://www.ixsk.cn/
海灣消防公司主營:海灣消防報警系統銷售,消防設備安裝,海灣氣體滅火、海灣電氣火災、消防水噴淋系統施工安裝,售后維修,海灣消防網站:http://www.ixsk.cn/;海灣消防服務熱線:4006-598-119
本頁關鍵詞:JTY-HM-GST102線型光束感煙火災探測器




蘇公網安備32058102002147號